# SuperPage交互-刷新数据
使用刷新数据交互,可以刷新页面内的指定组件的数据,把最新的数据展示出来。如在日志查询界面中下拉框参数全部选择完成后,点击刷新按钮,查询最新的系统日志:

# 使用刷新数据交互
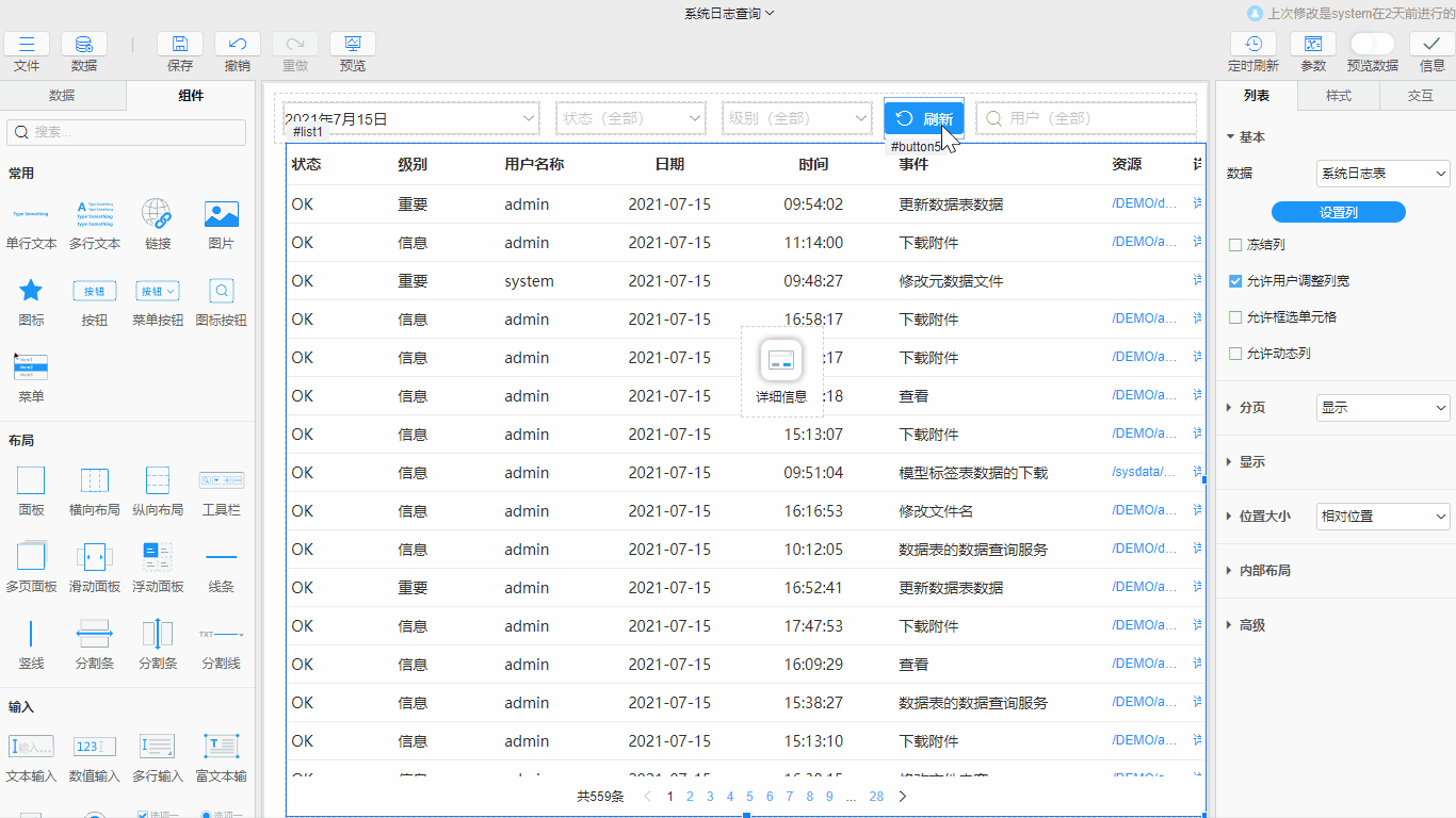
使用刷新数据交互,通常与按钮组件搭配使用。在查询条件或数据发生变化时,若数据未自动刷新,则点击刷新按钮会展示最新的数据,以系统日志表查询为例,具体操作步骤如下:

- 添加按钮交互:选中按钮,添加刷新数据交互
- 设置交互属性:数据源选择默认的全部选项
# 数据源设置
刷新数据交互刷新的是数据源,即已经添加的模型表、数据加工或数据集,从而驱动引用该数据源的组件数据界面发生变化。目标数据源可以在交互属性栏中设置,默认为全部选项,使用该交互可以刷新已经添加的所有数据源,若用户只想刷新某个或某几个数据源,可在下拉选项中按需勾选目标数据源。
TIP
模型设置了立即刷新属性,在查询条件变化时,数据会自动刷新,若是数据库表或者其他情况下出现的数据更新,界面数据无法自动刷新,则需要使用刷新数据交互手动刷新数据。
是否有帮助?
0条评论
评论